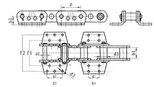
一、提升链条2简图:

二、提升链条2安装尺寸与技术特性表:
链号Chai Number |
节距Pmm |
内节内宽b1mm |
销套直径d1mm |
销轴直径d2mm |
平台高度h1mm |
横向距离mm |
附件孔径mm |
附件孔径d3mm |
抗拉载荷QKN |
备注 |
||
f1 |
f2 |
g1 |
g1 |
|||||||||
301 |
152.4 |
76.2 |
44.5 |
25.4 |
47.8 |
184 |
- |
63.5 |
- |
17.5 |
400 |
856 |
302 |
152.4 |
76.2 |
44.5 |
25.4 |
47.8 |
184 |
- |
63.5 |
- |
17.5 |
550 |
956 |
303 |
152.4 |
76.2 |
50.8 |
28.6 |
63.5 |
178 |
305 |
88.9 |
- |
14.2 |
700 |
958 |
304 |
152.4 |
76.2 |
60.5 |
25.4 |
63.5 |
178 |
305 |
88.9 |
- |
14.2 |
550 |
857 |
305 |
152.4 |
76.2 |
60.5 |
31.8 |
76.2 |
229 |
330 |
39.9 |
- |
17.5 |
950 |
859 |
306 |
177.8 |
95.3 |
60.5 |
31.8 |
76.2 |
229 |
330 |
95.3 |
140 |
17.5 |
950 |
864 |
307 |
177.8 |
95.3 |
63.5 |
34.9 |
76.2 |
229 |
330 |
95.3 |
140 |
17.5 |
950 |
984 |



